






Descripción
Rubinetto assolutamente moderno, estetico e pratico. Viene sottoposto a severi test di qualità, sia con acqua pressurizzata che con aria, imponendo un certo numero di cicli di apertura-chiusura equivalenti a quindici anni di vita utile del prodotto.
CARATTERISTICHE
- Design minimalista, linee pulite e manico allungato. Disponibile in diverse finiture
- Facile riempimento di grandi pentole e contenitori di ogni tipo
- Apertura di controllo 0º / 90º, ideale per l'installazione contro una parete
- Aeratore laminare: garantisce un getto più cristallino, oltre a ridurre gli schizzi e la generazione di calcare
- Finitura PDV: è un trattamento superficiale di alta qualità che conferisce robustezza e maggiore durata al rubinetto
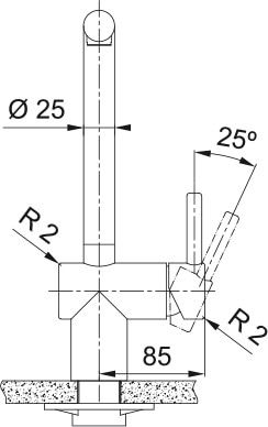
SPECIFICHE
- Materiale: acciaio inossidabile 304
- Rivestimento speciale: PVD (modelli a colori)
- beccuccio girevole
- Aeratore laminare
- Rotazione della testa: 180º
- Apertura di controllo: 0/90
- 12,2 l/min (3 bar)
- Diametro del foro: 35 mm
Rif: 115.0681.241
